Зажим струновой для несущего троса КС-046-1

Зажим струновой для несущего троса КС-046-1

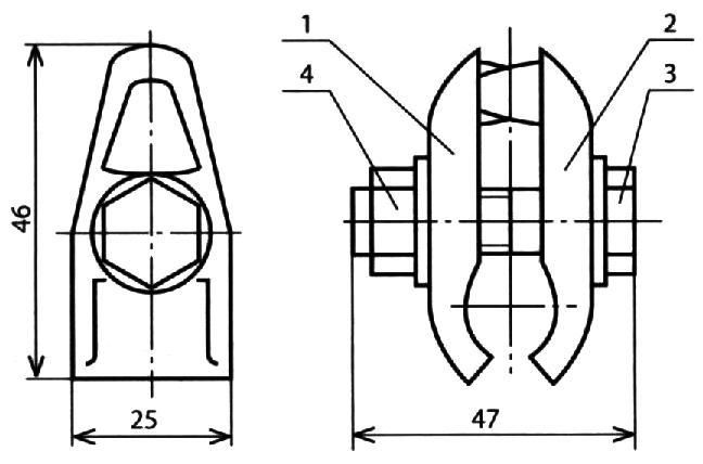
Габариты/размеры:(д/ш/в), мм:
Производитель:Россия ООО "Альтернатива-М" Германия Китай
Зажим струновой для несущего троса КС-046-1

Назначение:

для крепления струн на контактном проводе, медных и сталемедных несущих тросах сечением 70-120 мм2.


Чертеж

Зажим струновой для несущего троса КС-046-1

Позиция Наименование
детали
Материал,
покрытие
Допускаемая нагрузка, кН Масса, кг
1 Щека (с резьбой) БрА9ЖЗЛ, ЛК80-3 Р1=1,5
Р2=1,2
0,22
2 Щека (без резьбы) БрА9ЖЗЛ, ЛК80-3
3 Болт M10x40 Ст-Цфос
4 Гайка М10 Ст-Цфос