Зажим струновой для контактного провода КС-046-3
| Габариты/размеры: | (д/ш/в), мм: |
| Производитель: | Россия ООО "Альтернатива-М" Германия Китай |
Зажим струновой для контактного провода КС-046-3
Назначение:
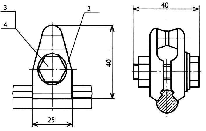
Чертеж
Назначение:
для крепления струн на контактном проводе.
Чертеж

| Позиция | Наименование детали |
Материал, покрытие |
Допускаемая нагрузка, кН | Масса, кг |
| 1 | Щека (с резьбой) | Бр.КН1-3 | Р1=1,5 Р2=1,2 |
0,139 |
| 2 | Щека (без резьбы) | Бр.КН1-3 | ||
| 3 | Болт M10x40 | Ст-08Х18Н10Т | ||
| 4 | Гайка М10 | Ст-20X13 |
