Зажим соединительный КС-054-14
| Габариты/размеры: | (д/ш/в), мм: |
| Производитель: | Россия ООО "Альтернатива-М" Германия Китай |
Зажим соединительный КС-054-14
Назначение:
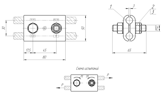
Чертеж
Назначение:
для соединения многопроволочных медных и сталемедных проводов сечением 70-95 мм².
Чертеж
| Позиция | Наименование детали |
Материал, покрытие |
Допускаемая нагрузка, кН | Масса, кг |
| 1 | Плашка 2шт. | БрАЖ9-4 | Р=3,0 | 0,54 |
| 2 | Болт М12х40 2шт. | Сталь 12Х18Н10Т | ||
| 3 | Гайка М12 2шт. | Сталь 12Х18Н10Т |
