Зажим рессорного троса и косой струны КС-048
| Габариты/размеры: | (д/ш/в), мм: |
| Производитель: | Россия ООО "Альтернатива-М" Германия Китай |
Зажим рессорного троса и косой струны КС-048
Назначение:
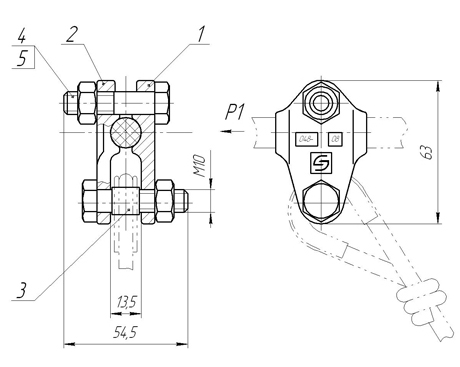
Чертеж
Назначение:
для крепления медных сечением 25-35 мм² и сталемедных проводов диаметром 6 мм рессорных тросов к несущему тросу сечением 95-120 мм².
Чертеж

| Позиция | Наименование детали |
Материал, покрытие |
Допускаемая нагрузка, кН | Масса, кг |
| 1и2 | Щека зажима 2шт. | БрАЖ9-4 | Р=3,5 | 0,26 |
| 3 | Втулка | Сталь 12Х18Н10Т | ||
| 4 | Болт M10x40 | Сталь 12Х18Н10Т | ||
| 5 | Гайка М10 | Сталь 12Х18Н10Т |
