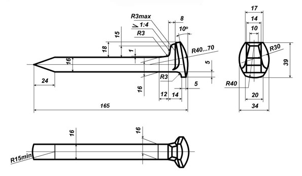
Костыль путевой 16х16х165
| Назначение: | для надежного скрепления элементов железнодорожного пути. |
| Габариты/размеры: | (д/ш/в), мм: 165x16x16 |
| Масса: | 0.38 кг. |
| Ед.изм.: | т (Количество в 1 тонне 2645 шт) |
| Материал: | Сталь. (Марка стали: Ст3, Ст4) |
| ГОСТ / ТУ: | ГОСТ 5812-82 |
| Производитель: | Россия |
Костыль путевой 16х16х165 необходим для крепления железнодорожных рельсов марок Р-43, Р-50 и Р-65.
| Костыль путевой применяется для крепления подкладок к деревянным шпалам. Закрепление пути происходит посредством ударов молотком по шляпке костыля. Производство работ по забивке костылей условно можно разделить на два этапа - это насаживание путевого костыля и забивка путевого костыля. В тех местах пути, где есть пучины, применяется пучинный костыль, который имеет удлинение в сравнении с обычным путевым костылем. |


