Стойка сочлененного прямого фиксатора КС-115
| Габариты/размеры: | (д/ш/в), мм: |
| Производитель: | Россия ООО "Альтернатива-М" Германия Китай |
Стойка сочлененного прямого фиксатора КС-115
Назначение:
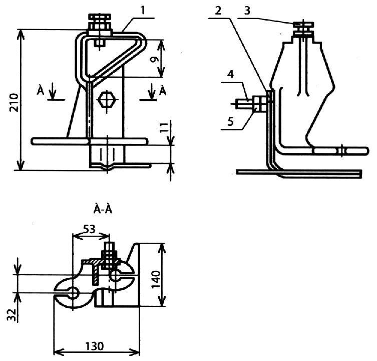
Чертеж

Назначение:
для крепления дополнительных фиксаторов к основному стержню из уголка 50x50.
Чертеж

| Позиция | Наименование детали |
Материал, покрытие |
Допускаемая нагрузка, кН | Масса, кг |
| 1 | Стойка | КЧ-ГорЦ |
Р=2,5 |
1,9 |
| 2 | Отбойник | Ст-ГорЦ | ||
| 3 | Болт М12х40 | Ст-Цхр | ||
| 4 | БолтМ12x45 | Ст-Цхр | ||
| 5 | Гайка М12 | Ст-Цхр |
