Стойка сочлененного обратного фиксатора КС-116

Стойка сочлененного обратного фиксатора КС-116

Габариты/размеры:(д/ш/в), мм:
Производитель:Россия ООО "Альтернатива-М" Германия Китай
Стойка сочлененного обратного фиксатора КС-116

Назначение:

для крепления дополнительных фиксаторов к основному стержню уголка 63x63.


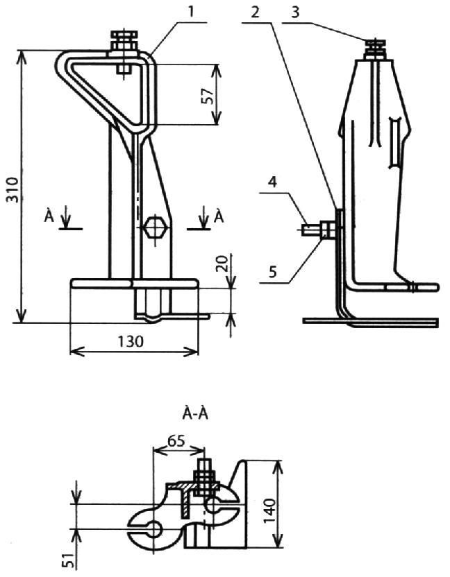
Чертеж
Стойка сочлененного обратного фиксатора КС-116 
Позиция Наименование
детали
Материал,
покрытие
Допускаемая нагрузка, кН Масса, кг
1 Стойка КЧ-ГорЦ

Р=2,5

2,9
2 Отбойник Ст-ГорЦ
3 Болт М12х40 Ст-Цхр
4 БолтМ12x45 Ст-Цхр
5 Гайка М12 Ст-Цхр