Зажим с ушком КС-040
| Габариты/размеры: | (д/ш/в), мм: |
| Производитель: | Россия ООО "Альтернатива-М" Германия Китай |
Зажим с ушком КС-040
Назначение:
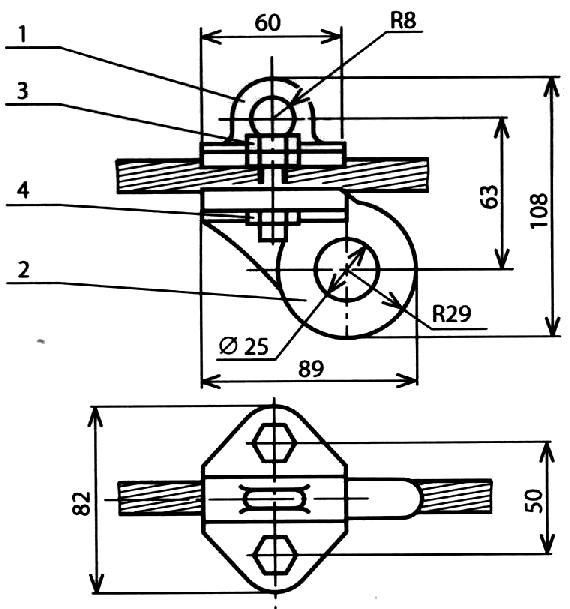
Чертеж

Назначение:
для крепления к нижнему фиксирующему тросу сечением 50-70 мм2 дополнительного фиксатора.
Чертеж

| Позиция | Наименование детали |
Материал, покрытие |
Допускаемая нагрузка, кН | Масса, кг |
| 1 | Плашка верхняя | КЧ-ГорЦ |
Р=5,0 |
0,93 |
| 2 | Плашка нижняя | КЧ-ГорЦ | ||
| 3 | Болт М12х40 2шт. | Ст-Цхр | ||
| 4 | Гайка М12 2шт. | Ст-Цхр |
