Седло двойное под пестик КС-011
| Габариты/размеры: | (д/ш/в), мм: |
| Производитель: | Россия ООО "Альтернатива-М" Германия Китай |
Седло двойное под пестик КС-011
Назначение:
Применение:
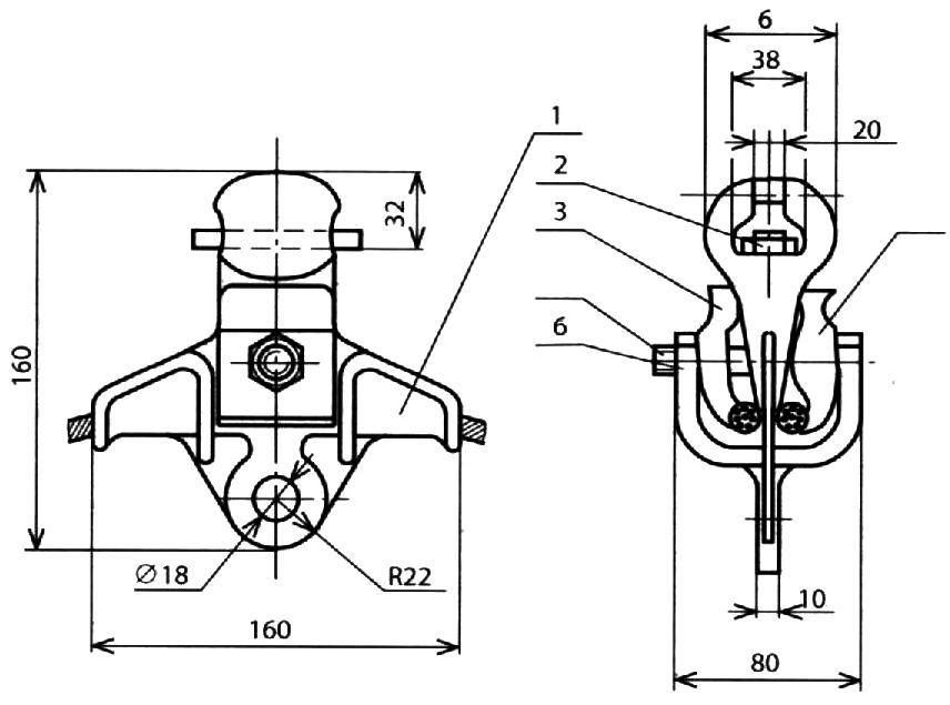
Чертеж

Назначение:
для подвески двух проводов сечением 50-185 мм2.
Применение:
при монтаже алюминиевых и сталеалюминиевых проводов применяются алюминиевые вкладыши 067, медных и сталемедных - медные вкладыши-067-1.
Чертеж

| Позиция | Наименование детали |
Материал, покрытие |
Допускаемая нагрузка, кН | Масса, кг |
| 1 | Седло двойное | КЧ-ГорЦ |
Р2=2,0 |
2,17 |
| 2 | Замок 078 | СтПГ35 | ||
| 3 | Плашка 008-1 | КЧ-ГорЦ | ||
| 4 | Плашка 010-1 | КЧ-ГорЦ | ||
| 5 | Болт М12x75 | Ст-Цхр | ||
| 6 | Гайка М12 | Ст-Цхр |
